- ВМФ России запатентовал подводный беспилотник модульной архитектуры и гидродинамической формы.
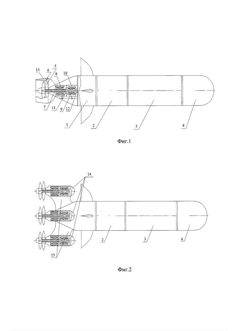
- Полезная модель относится к области судостроения и может использоваться для проектирования и производства АНПА с улучшенными пропульсивными характеристиками.
- Технический результат достигается за счет модульной архитектуры и гидродинамической формы, а также движительного, управляющего, батарейного и носового модулей.
- Изделие содержит два гребных винта противоположного вращения и два гребных электродвигателя для повышения КПД лопастного движителя на 10-12%.
